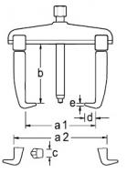
Aço especial. Garras com acabamento especial, fuso e fixadores escurecidos. Possui escala para ajuste uniforme das garras, propiciando a extração centralizada e otimização da força aplicada, mesmo quando altas capacidades de força são aplicadas. Possui botão de travamento das garras, ao pressionar o botão a trava é desbloqueada, permitindo que a garra deslize ao longo da escala. Ao soltar o botão, a trava é novamente acionada, minimizando os riscos de acidentes resultantes de deslocamentos indesejáveis das garras. Desing robust, onde a carga é distribuída sobre as duas garras, garantindo a extração segura e rápida de polias, rodas e rolamentos. Através da inversão de suas garras, permite a extração externo ou interna.

 

Permitem utilização com Prolongadores refs. 106/A - 100 - VB, 106/B - 150 - VB e 106/C - 200 - VB, de acordo com o modelo, a serem adquiridos à parte. 

Refs. 1.06/11-B e 1.06/1A1-B permitem utilização com Garras delgadas "quick release" refs.106/A-100-SE, 106/A-200-SE, 106/A-250-SE, 106/A-100-SSE, 106/A-200-SSE e 106/A-250-SSE, com Garras extradelgadas "quick release" refs. 106/A-100-XSE e 106/B-150-XSE, com Garras refs. 106/A-100-N e 106/A-200-N, e com Garra "quick release" ref. 106/A-100-E, a serem adquiridas à parte, de acordo com o modelo.

Refs. 1.06/31-B e1.06/41-B, permitem utilização com Garras "quick release" ref.106/C-200-E, e com Garras refs. 106/C-200-N, 106/C-300-N, 106/C-400-Ne 106/C-500-N, a serem adquiridas à parte, de acordo com o modelo.

Ref. 1.06/31-B, permitem utilização com Fusos hidráulicos refs. HSP - E 1, HSP - E 2 e HSP - E 3, a serem adquiridos à parte, de acordo com o modelo. 

 

Garras com travas e Fusos mecânicos, são comercializados para reposição, conforme tabela abaixo.

 

Dicas de segurança:

• Respeite as normas profissionais de segurança e o uso dos EPIs.

• Sempre utilize o sacapolia correspondente ao diâmetro da polia a ser extraída, para que não danifique a polia e o sacapolia.

• Posicione adequadamente as garras do sacapolia de forma equidistante, isto facilitará a extração e tornará a operação mais segura.

• Respeite o limite de carga operacional estabelecido para cada sacapolia.

• Não exponha o sacapolia ao calor excessivo, para não comprometer as características do produto.

• Não utilize tubos ou extensões para obter maior torque.

• Não golpeie o sacapolia com duas garras rígidas deslizantes com trava.

• Não altere a forma original do sacapolia com duas garras rígidas deslizantes com trava.

• Não exponha / armazene o sacapolia com duas garras rígidas deslizantes com trava em ambientes ácidos, úmidos ou salinos.

• Após o uso limpe visando prolongar a vida útil e garantir o bom funcionamento do sacapolia com duas garras rígidas deslizantes com trava.

 

 

Adicionar a impressão
adicionar ao painel de comparação
  • Capacidade de força operacional
    3 tnf
desenhos técnicos
Você pode escolher até 4 produtos para comparação
escolhidos 0/4
Comparar Produtos