Aço especial. Garras com acabamento especial, fuso e fixadores escurecidos. Design robusto, para extração segura e rápida de polias, rodas e rolamentos. Sistema de engate rápido, facilita posicionamento e ajuste das garras e trava de segurança por meio de alavanca. Escala para ajuste uniforme das garras propicia a extração centralizada e otimização da força aplicada, mesmo quando altas capacidades de força de extração são aplicadas. A partir da inversão de suas garras facilita a extração de polias com apoio externo ou interno.
Refs. 1.06/1-E e 1.06/1A-E permitem utilização com Garras delgadas "quick release" refs.106/A-100-SE, 106/A-200-SE, 106/A-250-SE, 106/A-100-SSE, 106/A-200-SSE e 106/A-250-SSE, com Garras extradelgadas "quick release" refs. 106/A-100-XSE e 106/B-150-XSE, com Garras refs. 106/A-100-N e 106/A-200-N, e com Garra com trava ref.106/A-100-B, a serem adquiridas à parte, de acordo com o modelo.
Refs. 1.06/2-E e 1.06/2A-E permitem utilização com Garras delgadas "quick release" refs.106/B-150-SE, 106/B-220-SE e 106/B-300-SE, com Garras refs. 106/B-150-N e 106/B-300-N, e com Garra com trava ref.106/B-150-B, a serem adquiridas à parte, de acordo com o modelo.
Refs. 1.06/3-E e 1.06/3A-E permitem utilização com Garras refs. 106/C-200-N, 106/C-300-N, 106/C-400-N e 106/C-500-N, e com Garra com trava ref.106/C-200-B, a serem adquiridas à parte.
Refs. 1.06/2 - E, 1.06/2A - E, 1.06/3 - E e 1.06/3A - E, permitem utilização com Fusos hidráulicos refs. HSP - E 1 e HSP - E 2, a serem adquiridos à parte, de acordo com o modelo.
Garras "quick release" e fusos mecânicos, são comercializados para reposição, conforme tabela abaixo.
Dicas de segurança:
• Respeite as normas profissionais de segurança e o uso dos EPIs.
• Sempre utilize o sacapolia correspondente ao diâmetro da polia a ser extraída, para que não danifique a polia e o sacapolia.
• Posicione adequadamente as garras do sacapolia de forma equidistante, isto facilitará a extração e tornará a operação mais segura.
• Respeite o limite de carga operacional estabelecido para cada sacapolia.
• Não exponha o sacapolia ao calor excessivo, para não comprometer as características do produto.
• Não utilize tubos ou extensões para obter maior torque.
• Não golpeie o sacapolia com duas garras deslizantes "quick release".
• Não altere a forma original do sacapolia com duas garras deslizantes "quick release".
• Não exponha / armazene o sacapolia com duas garras deslizantes "quick release" em ambientes ácidos, úmidos ou salinos.
• Após o uso limpe visando prolongar a vida útil e garantir o bom funcionamento do sacapolia com duas garras deslizantes "quick release".
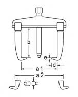
a1 mín mm
b mm
Fuso
Fuso mecânico para reposição código: