Aço especial. Garras e corpo com acabamento especial, fuso e fixadores escurecidos. Design robust, a carga distribuída sobre três garras assegura um agarre mais seguro e extração balanceada. Sistema de engate rápido, facilita posicionamento e ajuste das garras e trava de segurança por meio de alavanca. Ajuste uniforme das garras propicia a extração centralizada e otimização da força aplicada, mesmo quando altas capacidades de força de extração são aplicadas. A partir da inversão de suas garras facilita a extração de polias com apoio externo ou interno.

Refs. 1.07/1-E e 1.07/1A-E permitem utilização com Garras delgadas "quick release" refs.106/A-100-SE, 106/A-200-SE, 106/A-250-SE, 106/A-100-SSE, 106/A-200-SSE e 106/A-250-SSE, com Garras extradelgadas "quick release" refs. 106/A-100-XSE e 106/B-150-XSE, com Garras "quick release" ref. 106/A-100-E, com Garras refs. 106/A-100-N e 106/A-200-N, e com Garra com trava ref. 106/A-100-B, a serem adquiridas à parte, de acordo com o modelo.

Refs. 1.07/2-E e 1.07/2A-E permitem utilização com Garras delgadas "quick release" refs.106/B-150-SE, 106/B-220-SE e 106/B-300-SE, com Garras "quick release" ref. 106/B-150-E, com Garras refs. 106/B-150-N e 106/B-300-N, e com Garra com trava ref. 106/B-150-B, com a serem adquiridas à parte, de acordo com o modelo.

Ref. 1.07/3-E permite utilização com com Garras "quick release ref. 106/C-200-E, com Garras refs. 106/C-200-N, 106/C-300-N, 106/C-400-N e 106/C-500-N, e com Garra com trava ref. 106/C-200-B, com a serem adquiridas à parte, de acordo com o modelo.

Refs. 1.07/2 - E, 1.07/2A - E e 1.07/3 - E, permitem utilização com Fusos hidráulicos refs. HSP - E 1 e HSP - E 2, a serem adquiridos à parte, de acordo com o modelo. 

 

Garras "quick release" e fusos mecânicos, são comercializados para reposição, conforme tabela abaixo.

 

Dicas de segurança:

• Respeite as normas profissionais de segurança e o uso dos EPIs.

• Sempre utilize o sacapolia correspondente ao diâmetro da polia a ser extraída, para que não danifique a polia e o sacapolia.

• Posicione adequadamente as garras do sacapolia de forma equidistante, isto facilitará a extração e tornará a operação mais segura.

• Respeite o limite de carga operacional estabelecido para cada sacapolia.

• Não exponha o sacapolia com três garras deslizantes "quick release" ao calor excessivo, para não comprometer as características do produto.

• Não utilize tubos ou extensões para obter maior torque.

• Não golpeie o sacapolia com três garras deslizantes "quick release".

• Não altere a forma original do sacapolia com três garras deslizantes "quick release".

• Não exponha / armazene o sacapolia com três garras deslizantes "quick release" em ambientes ácidos, úmidos ou salinos.

• Após o uso limpe visando prolongar a vida útil e garantir o bom funcionamento do sacapolia com três garras deslizantes "quick release".

Adicionar a impressão
adicionar ao painel de comparação
  • Capacidade de força operacional
    5,0 - 7,5 tnf
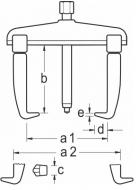
desenhos técnicos
Você pode escolher até 4 produtos para comparação
escolhidos 0/4
Comparar Produtos